The Glock Gen5 pistols are getting all the attention right now, and rightfully so. But it seems the polymer giant has a new innovation on the horizon: the Glock 46.
- RELATED STORY: Glock Gen5 Pistols Are Here, Finger Grooves Are Gone
A German-based magazine called Das Magazin für Waffenbesitzer (The Magazine for Weapon Owners)—which first leaked the news—says the new Glock 46 is being tested by German police. Based on the photos we’ve seen, it’s a compact 9mm Gen5-based offering. It sports an enlarged beavertail and a striker assembly attached to the slide cover plate. But more importantly—and this is a first for Glock—it features a rotating barrel system. That’s in place of the normal Browning-style tilting barrel locking system.
“The Glock 46 was developed by GLOCK Ges.m.b.H in response to an overseas solicitation,” Glock’s PR department told Tactical-Llife.com. “The pistol meets or exceeds all of the solicitation requirements and is not currently available to the U.S. market.”
Advertisement — Continue Reading Below
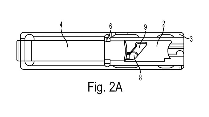
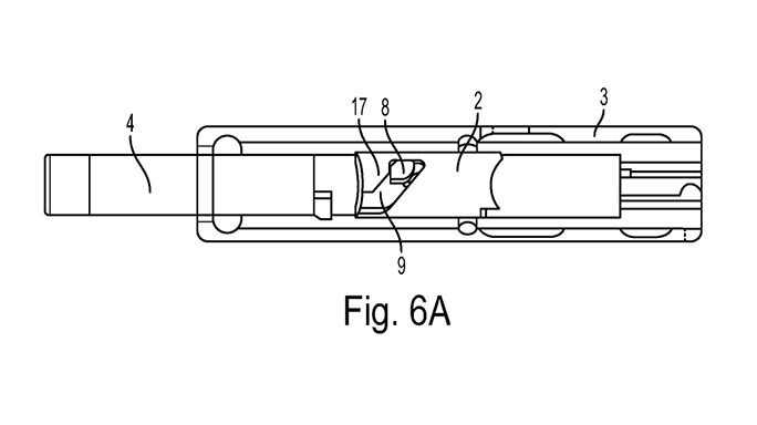
Glock 46 Patent
Details are scant right now, but we also got a copy of the patent application filed for the new Glock 46. See above for photos from that application. Here’s what the abstract says:
A pistol with a frame, a breech which is movable and a rotary barrel which is located in the breech. The rotary barrel is rotated and moved axially with respect to the breech between a locked position and an open position by means of cams and grooves. In order to avoid the wear which is customary in weapons of this type, the breech is provided with a stop surfaces running obliquely with respect to the bore axis, and the barrel has a corresponding contact surface. During the locking by the flat contact between said surfaces, the beginning of the relative rotational movement is initiated. By virtue of this precisely guided and directed interaction, wear can be reduced by orders of magnitude relative to the prior art.
More on this story as it develops.
You can watch more on the Glock 46 in the video below.
Advertisement — Continue Reading Below
https://www.youtube.com/watch?v=eRrUf8NJKZY




